Tesla патентираше нов метод за загревање и вентилација на седиштата
Наместо два системи, потребен е само еден и нема потреба од дупки во кожниот тапацир
Американскиот производител на автомобили Tesla патентираше нов метод за загревање и вентилација на седиштата – со течност. Самата идеја не е нова, но пристапот на компанијата е невообичаен.
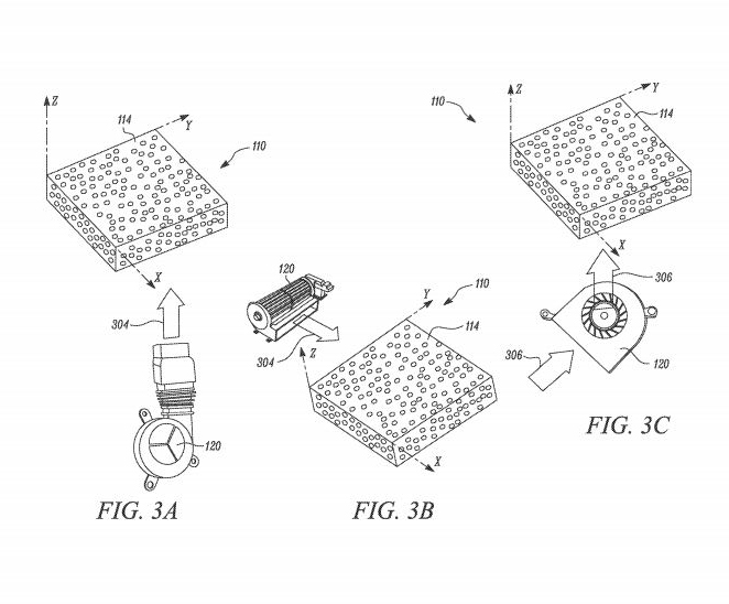
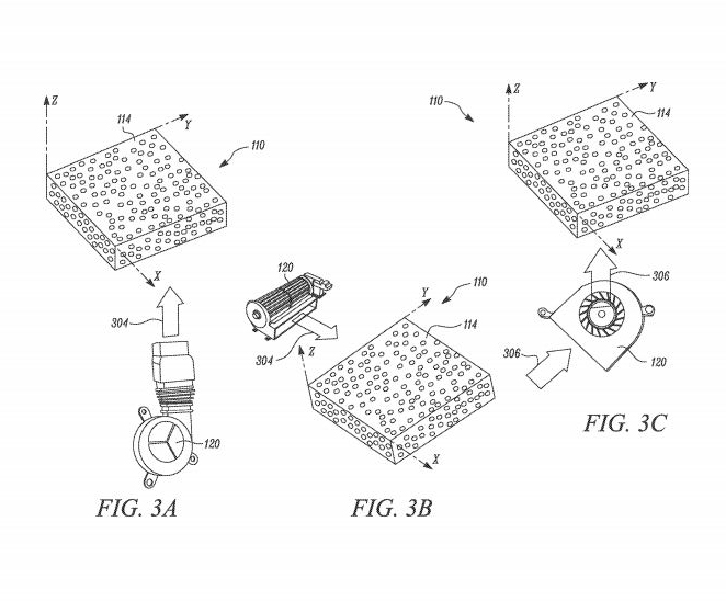
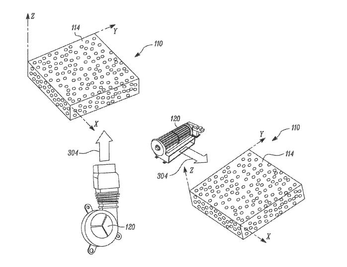
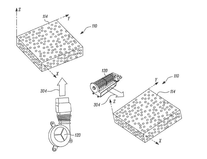
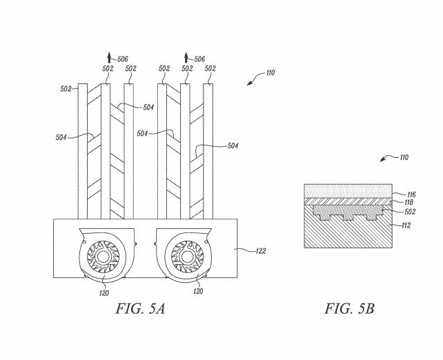
Во возилата со загревање и вентилација на седиштата, се инсталираат два независни системи. За греење обично се користат многу отпорници кои се загреваат со минување на струја низ нив. Во другиот процес односно за вентилација се користат вентилатори и ладен воздух што минува низ мали дупки во кожниот тапацир. Во Tesla одлучиле дека овие две задачи можат да ги спојат преку еден не толку скап систем.
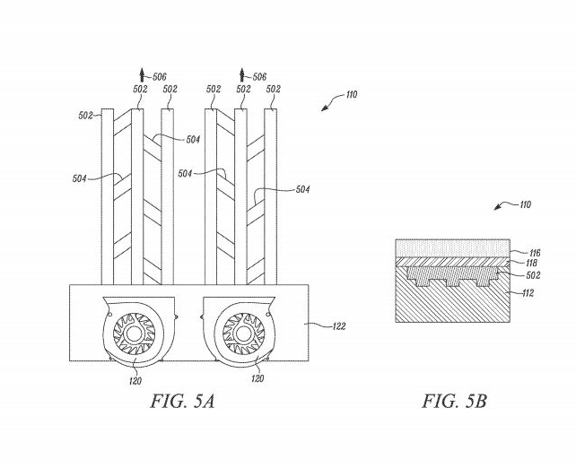
Според достапните информации за патентот, греењето на седиштата и вентилацијата може да се извршат преку дополнителен слој под тапацирот во кој ќе циркулира течност. Во овој меѓу слој, мора да бидат поставени грејни и разладни елементи како и мала пумпа.
Не се споменува конкретно каква течност ќе се користи, но јасно е дека не е вода која при минусни температури не е погодна за вакви цели, а и нејзиниот степен на експанзија и контракција при загревање и ладење е премногу голем. Ова прашање е многу важно бидејќи течноста не треба да биде отровна, а алкохолот е најдобра опција. Независно од тоа, сè уште не е јасно кој елемент ќе се користи за загревање и вентилација на седиштата.
За жал, патентот не гарантира дека системот ќе се појави во сериските автомобили – производителите честопати патентираат некои работи кои потоа не ги инкорпорираат во моделите. Сепак, во случајот на Tesla, која сака да ги прави работите поинаку, веројатноста за седишта со нов систем за греење и вентилација е голема.










